RINGWALZEN
Mehrdorn-Ringwalzwerke KFRWt
Für die Produktion von kleinen sowie großen Ringserien mit einem Gewicht von bis zu 40 kg hat Banning® Ringwalzwerke konzipiert, die un-
terbrechungsfrei und mit sehr kurzen Zyklen arbeiten.
Bei diesen Maschinen kommt ein altbekanntes Maschinenkonzept mit vier Walzdornen und einer Hauptwalze zum Tragen. Die Walzdorne sind
auf einem Drehtisch montiert, der sich exzentrisch um die Hauptwalze dreht. Auf diese Weise bewegt sich jeder Walzdorn zu der Hauptwalze
hin und von der Hauptwalze weg, während er sich dreht.
Die Maschine ist komplett Servo angetrieben und ermöglicht dadurch die Einstellung des exzentrischen Walzdorns (der die Wandstärke des
Ringes definiert) elektromechanisch über das Steuerpult in 0,05 mm Schritten.
Auch die Einstellung des Zentrierarms erfolgt elektromechanisch über das Steuerpult. Weiterhin erfolgt die Höhenregulierung der Walzdorne
mechanisch unter der Maschine.
Die mögliche automatische Einstellung an der Maschine erlaubt eine schnelle Produktionsänderung sowie eine Feineinstellung während der
Produktion, ohne dass die Maschine gestoppt werden muss.
Alle Produktionsparameter können für zukünftige Nutzung gespeichert werden.
Im Vergleich zu früheren Modellen des Herstellers Wagner (KFRWt) ermöglicht das neue kinematische Design dieser Maschine eine
Energieeinsparung von mindestens 20% sowie eine Reduzierung der Instandhaltungskosten.
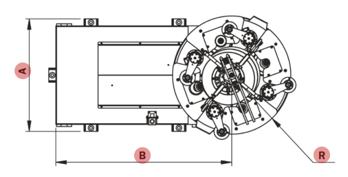
Allgemeinen Technische Werte:
Typ
400
630
A
1300
1600
B
2100
2600
C
2800
3300
D
1700
2100
H
700
700
R
680
850
Hauptabmessungen
Typ
400
630
max. Durchmesser
350
450
max. Ringhöhe
50
70
max. Ringgewicht
8
22
Walzleistung
720
720
(bis zu) (Ringe/Stunde)
Der Ring
Die Vorteile dieses Maschinenkonzeptes sind die Wirtschaftlichkeit
durch geringe Energiekosten und Automation, die Flexibilität durch
schnellen Einsatz, schnellen Produktionswechsel und frei
programmierbares Steuersystem, die Sicherheit durch einfache
Bedienung und die Präzision durch hohe Walzgenauigkeit
bezüglich der Wandstärken.
Da die Volumenunterschiede des Ringes am Durchmesser verteilt
sind, wird nach der Mehrdornwalzmaschine KFRWt in der Regel
eine Kalibrierpresse zur Kalibrierung des Durchmessers installiert.
Die Maschine ist kostengünstig und extrem produktiv.